Каталог

Корпус длинный (высокое и прямое основание сиденья)

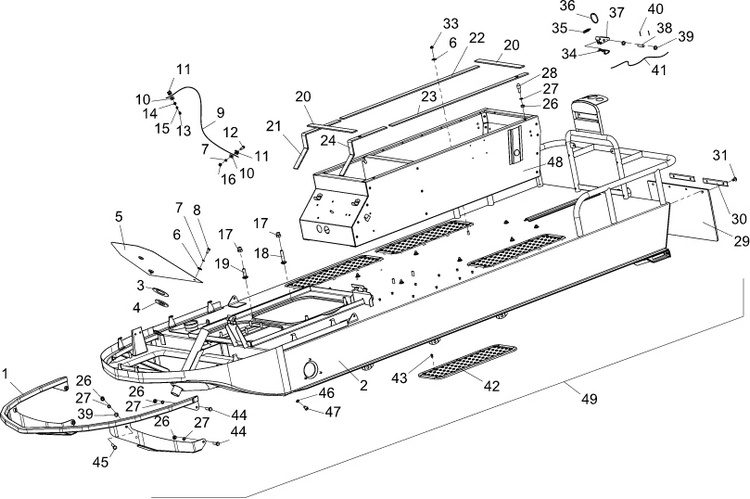
Фото Наименование Артикул Примечание Цена, руб. Заказать
Болт М8х12 DIN 933-88P 0067800
Гайка M10 110100124 (4 шт.) 0128390 459.8
Шплинт 1,6x12 DIN 94-P (2 шт.) 0130043 60.5
Бампер 110100290 0010108 3 411.1
Корпус снегохода 250101510 0081367
Брызговик 110100063 0010014
Перегородка 110101210 0015016
Шайба 110100092 0010030
Прокладка 110100119 0010041
Прокладка 110101201 0016140
Прокладка 110101201-01 0016142
Прокладка 110101201-02 0016141
Прокладка 110101202 0016144
Подножка 110100162 (4 шт.) 0128475 815.1
Прокладка 110101203 0016143
Рама сиденья 110101350-02 0108288 10 043
Штырь 110100478 0010150
Болт М8х50 DIN 933-88P 0067801 22
Трос 110000019 0009973
Корпус 250101350 0081371

Почему выгодно купить у нас

Поставка c завода г. Рыбинск. Мы производители

Спец Тариф на доставку в ТК

Заводская гарантия 12 месяцев

Популярные статьи

Подборка из 5 снегоходов для рыбалки

Куда удобнее отправить?