Каталог

Корпус Тайга

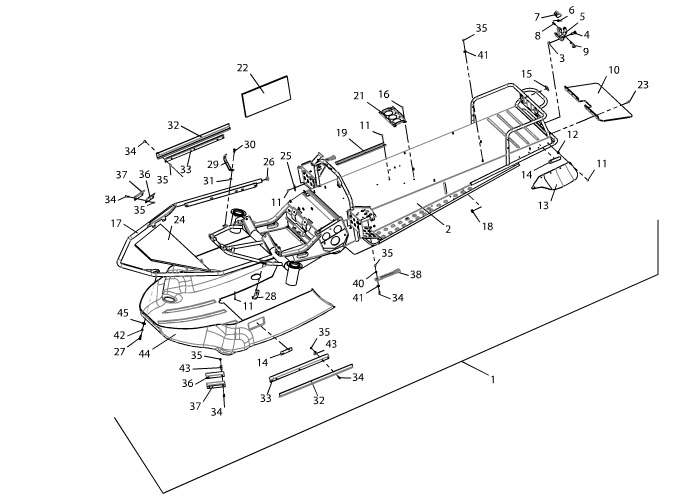
Фото Наименование Артикул Примечание Цена, руб. Заказать
Бампер Тайга Варяг 500/Классика (железный, труба) 00000836 2 068.5
Бампер Тайга Барс 850 00008732 1 258.4
Боковина левая Тайга Барс 00006988 3 423.2
Боковина правая Тайга Барс 00006989 5 258
Брызговик боковой Тайга 00001482 200.2
Брызговик задний РМ 00000844 140
Днище носка Тайга 500 00001914 9 625
Днище носка Тайга 550 SE/SWT 00006401 2 502.5
Днище носка Тайга Барс 00006990 2 237.4
Заглушка бампера левая 00000894 34.1
Заглушка бампера правая 00000893 43 600
Капот сварной Варяг 500 (черный) 00010329 7 689
Капот сварной Варяг 550 V 00010205 9 087
Капот сварной Варяг 550 V в сборе 00011128 45 030.7
Кожух аккумулятора Тикси 00004693
Крюк сцепки в сборе Тайга усиленный 4 болта 00000961 786.5
Крюк сцепки саней голый 00001671 569.8
Окантовка 00008742 300.3
Основа (корпус) сиденья Тайга 00000947 4 290
Основание 00008812

Может пригодиться

В наличии 30 шт Акция
Комплект с Li-ion АКБ 36/48В 5,2-10A*ч, 350Вт, 24', редукторный / задний
Обод: 24 дюймов
Напряжение, номинальное: 36/48 В
Мощность номинальная: 350 Вт
34 176
Подробнее Рассрочка/кредит от 1 139 ₽/мес
Квадробукс РОСОМАХА 500 ФЕРМЕР
Габариты: 2500х1300х1520 мм
Мощность: 20 л.с.
Грузоподъемность: 500 кг
Рассчитать цену Рассрочка/кредит от 14 997 ₽/мес

Почему выгодно купить у нас

Поставка c завода г. Рыбинск. Мы производители

Спец Тариф на доставку в ТК

Заводская гарантия 12 месяцев

РУКОВОДСТВО ПО ЭКСПЛУАТАЦИИ ТАЙГА ПАТРУЛЬ 550/551

PDF файл откроется в новом окне и придёт на Ваш Email

Популярные статьи

Подборка из 5 снегоходов для рыбалки

Куда удобнее отправить?