Каталог

Корпус Тайга

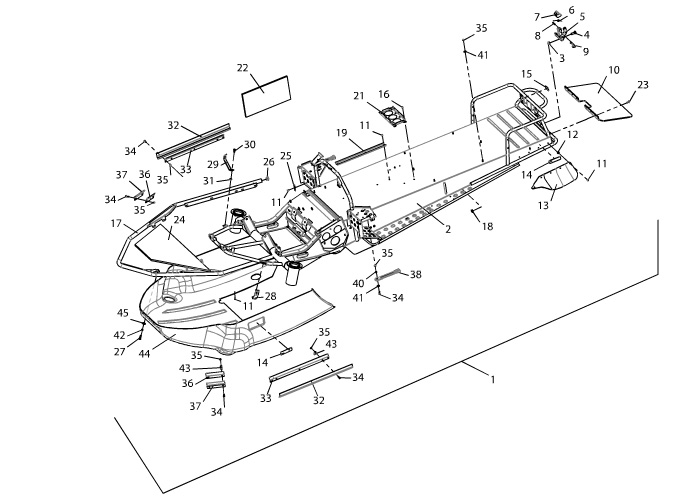
Фото Наименование Артикул Примечание Цена, руб. Заказать
Канистра 12,5 л для кофра RM Pro Vеctor 551i 00012000
Кофр задний пластиковый RM Pro Vector 551i 00012001
Бампер силовой RM Тайга Патруль 550/551/800 00012030 9 295
Аппликация левая Варяг С40700534 00012097 286
Аппликация правая Варяг С40700533 00012098 286
Брызговик задний РМ для гусеницы 600мм. 00012156 940.5
Дуга спинки сиденья 00012630
Защита капота откидная RM Patrul 00012675 10 890
Кронштейны для установки защиты капота на бампер 00012676 2 860
Рама C40102260 Тайга Варяг 500/Классика 00012591 76 862.5
Бампер передний RM Patrul с кронштейнами 00012783 11 940.5
Защита днища RM Тайга Варяг 500/550V/Класс/Лидер 00012778 7 722
Спинка сиденья Тайга SWT 550 РМ 00012859 10 010
Корпус сиденья Патруль 550/551 Барс 00013466 6 721
Крюк сцепки в сборе Тайга два болта 00013429 643.5
Аппликация левая C40700536 00013538 286
Аппликация левая C40700531 00013545 257.4
Аппликация правая C40700532 00013546 257.4
Аппликация правая C40700535 00013537 286
Кронштейн S10100123 00013536

Почему выгодно купить у нас

Поставка c завода г. Рыбинск. Мы производители

Спец Тариф на доставку в ТК

Заводская гарантия 12 месяцев

РЕКОМЕНДАЦИИ ПО РЕГУЛИРОВКЕ КАРБЮРАТОРОВ ДЛЯ СНЕГОХОДОВ ТАЙГА

PDF файл откроется в новом окне и придёт на Ваш Email

Популярные статьи

Подборка из 5 снегоходов для рыбалки

Куда удобнее отправить?